Product Summary
The ds1921 is an ideal device to monitor the temperature of any object it is attached to or shipped with,such as fresh produce, medical drugs and supplies. It is also ideal for use in refrigerators. The ds1921 His intended for monitoring the body temperature of humans and animals and for monitoring temperaturecritical processes such as curing, powder coating, and painting. Alternatively, the ds1921 can be usedfor monitoring the temperature of clean rooms, and computer and equipment rooms. It can also aid incalculating the proportional share of heating cost of each party in buildings with central heating.
Parametrics
ds1921 absolute maximum ratings: (1)DS1921H-F5: +15 to +46°C; (2)DS1921Z-F5: -5 to +26°C; (3)DS1921H-F5: +15°C to +46°C; (4)DS1921Z-F5: -5°C to +26°C.
Features
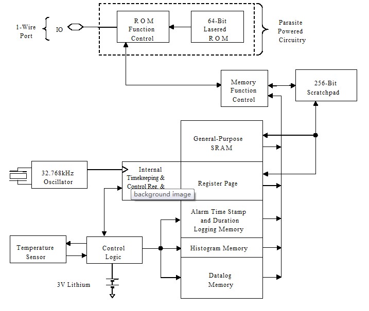
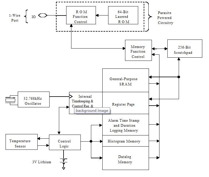
ds1921 features: (1)Digital thermometer measures temperature in1/8°C increments with ±1°C accuracy; (2)Built-in real-time clock (RTC) and timer hasaccuracy of±2 minutes per month from 0°Cto 45°C; (3)Automatically wakes up and measurestemperature at user-programmable intervalsfrom 1 to 255 minutes; (4)Logs up to 2048 consecutive temperaturemeasurements in protected nonvolatile (NV)random access memory; (5)Records a long-term temperature histogramwith 1/2°C resolution; (6)Programmable temperature-high andtemperature-low alarm trip points; (7)Records up to 24 time stamps and durationswhen temperature leaves the range specifiedby the trip points.
Diagrams

| Image | Part No | Mfg | Description | ![]() |
Pricing (USD) |
Quantity | ||||||||||||
|---|---|---|---|---|---|---|---|---|---|---|---|---|---|---|---|---|---|---|
![]() |
![]() DS1921G-F5 |
![]() Maxim Integrated Products |
![]() iButtons |
![]() Data Sheet |
![]() Negotiable |
|
||||||||||||
![]() |
![]() DS1921G-F5# |
![]() Maxim Integrated Products |
![]() iButtons Thermochron iButton |
![]() Data Sheet |
![]()
|
|
||||||||||||
![]() |
![]() DS1921G-F5#W |
![]() Maxim Integrated Products |
![]() iButtons |
![]() Data Sheet |
![]() Negotiable |
|
||||||||||||
![]() |
![]() DS1921G-F5/A12 |
![]() Maxim Integrated Products |
![]() iButtons |
![]() Data Sheet |
![]() Negotiable |
|
||||||||||||
![]() |
![]() DS1921G-F5/A12-W |
![]() Maxim Integrated Products |
![]() iButtons |
![]() Data Sheet |
![]() Negotiable |
|
||||||||||||
![]() |
![]() DS1921G-F5/A15 |
![]() Maxim Integrated Products |
![]() iButtons |
![]() Data Sheet |
![]() Negotiable |
|
||||||||||||
![]() |
![]() DS1921G-F5/A17 |
![]() Maxim Integrated Products |
![]() iButtons |
![]() Data Sheet |
![]() Negotiable |
|
||||||||||||
![]() |
![]() DS1921G-F5+A0C |
![]() Maxim Integrated Products |
![]() iButtons |
![]() Data Sheet |
![]() Negotiable |
|
||||||||||||
(China (Mainland))









